Generac 5000 Watt Generator Parts Diagram

Generac Pp5000t 1306 0 Generac 5 000 Watt Portable Generator Generator Parts Lookup With Diagrams Partstree

Generac Pp5000t 1306 0 Generac 5 000 Watt Portable Generator Generator Parts Lookup With Diagrams Partstree

Generac Svp5000 9719 3 Generac 5 000 Watt Portable Generator Wiring Diagram Parts Lookup With Diagrams Partstree

Generac Svp5000 9719 3 Generac 5 000 Watt Portable Generator Wiring Diagram Parts Lookup With Diagrams Partstree

Generac Guardian Rv Generator Parts In 2020 Generator Parts Home Backup Generator Washer Shop

Generac Guardian Rv Generator Parts In 2020 Generator Parts Home Backup Generator Washer Shop

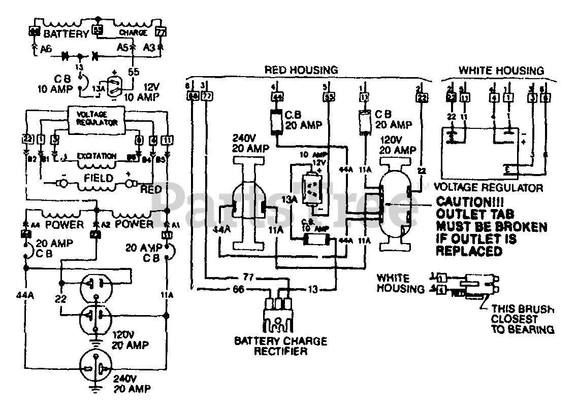
Generac Gp5500 Generator 0059390 Ereplacementparts Com

Generac Gp5500 Generator 0059390 Ereplacementparts Com

Generac S5002 8983 5 Generac 5 000 Watt Portable Generator Electrical Schematic Wiring Diagram Parts Lookup With Diagrams Partstree

Generac S5002 8983 5 Generac 5 000 Watt Portable Generator Electrical Schematic Wiring Diagram Parts Lookup With Diagrams Partstree

Generac 4w109 8920 0 Generac 5 000 Watt Portable Generator Wiring Diagram For Model 4w109 Parts Lookup With Diagrams Partstree

Generac 4w109 8920 0 Generac 5 000 Watt Portable Generator Wiring Diagram For Model 4w109 Parts Lookup With Diagrams Partstree

Generac 4w109 8920 0 Generac 5 000 Watt Portable Generator Wiring Diagram For Model 4w109 Parts Lookup With Diagrams Partstree

Generator diagram and repair parts lookup for generac se5000 1329 0 generac 5 000 watt portable generator.

Generac 5000 watt generator parts diagram.

More information about generac generator parts if you can t find the replacement generac parts you need in the categories above see all generac parts here. View old generac parts diagrams manuals. Generator svp 5000 diagram and repair parts lookup for generac svp5000 0417 0 generac 5 000 watt portable generator. Find genuine replacement parts for your generac product.

Parts manual ev unit ev gh410 hsb engine plat hone. Use our interactive diagrams accessories and expert repair help to fix your generac generator. Departments accessories appliance parts exercise. Wd v t hsb w o eng run wind.

Call center open from home and warehouse shipping to all 50 states with some usps ups fedex delays learn more order status customer support 512 288 4355 my account. Use our new generac parts lookup by model. Wd s cyl hsb w o eng run wind. Parts manual ev unit ev generator.

Get the most out of your generac standby generator s performance with accessories from the leader in standby power. Shop now 24 7 365 customer support united states canada. Products are available to maximize convenience and simplify maintenance for years of reliable standby power. Shop and buy genuine generac parts and accessories for your home backup generator portable generator or pressure washer.

Generator Repair Troubleshooting Runs But No Power Youtube Generator Repair Generation Repair

Generator Repair Troubleshooting Runs But No Power Youtube Generator Repair Generation Repair

Briggs And Stratton 5 000 Watt Generator 9719 1 Svp5000 Ereplacementparts Com

Briggs And Stratton 5 000 Watt Generator 9719 1 Svp5000 Ereplacementparts Com

Champion Power Equipment 5000 Watt Gasoline Powered Recoil Start Portable Generator With Champion 292 Cc Engine 100496 The Home Depot Portable Generator Generators For Sale 5000 Watt Generator

Champion Power Equipment 5000 Watt Gasoline Powered Recoil Start Portable Generator With Champion 292 Cc Engine 100496 The Home Depot Portable Generator Generators For Sale 5000 Watt Generator

Free Shipping Generac Gp7500e Portable Generator 9375 Surge Watts 7500 Rated Watts Electric Star Portable Generator Portable Generators Propane Generator

Free Shipping Generac Gp7500e Portable Generator 9375 Surge Watts 7500 Rated Watts Electric Star Portable Generator Portable Generators Propane Generator

Fram Oil Filter For Generac Generator In 2020 Oil Filter Generators For Sale Home Backup Generator

Fram Oil Filter For Generac Generator In 2020 Oil Filter Generators For Sale Home Backup Generator

Generac Pp5000t 1306 0 Generac 5 000 Watt Portable Generator Wheel Kit Parts Lookup With Diagrams Partstree

Generac Pp5000t 1306 0 Generac 5 000 Watt Portable Generator Wheel Kit Parts Lookup With Diagrams Partstree

Buckbock Manual Choke Carburetor Carb For Generac Centurion 55771 0055771 5000 6250 Watt Troy Bilt Xp 7000 10500 Watt 30477 030477 Gas Generator Review Generator Accessories Generation

Buckbock Manual Choke Carburetor Carb For Generac Centurion 55771 0055771 5000 6250 Watt Troy Bilt Xp 7000 10500 Watt 30477 030477 Gas Generator Review Generator Accessories Generation

Generac Generator Circuit Board Circuit Board Generation Circuit

Generac Generator Circuit Board Circuit Board Generation Circuit

Generac 5798 Xg7000e 7000 Watt Electric Start Portable Generator Best Portable Generator Portable Power Generator Portable Generator

Generac 5798 Xg7000e 7000 Watt Electric Start Portable Generator Best Portable Generator Portable Power Generator Portable Generator

Generac S5020f 5520 0 Generac 5 000 Watt Portable Generator Wiring Diagram Schematic Standard S 4000 Series Parts Lookup With Diagrams Partstree

Generac S5020f 5520 0 Generac 5 000 Watt Portable Generator Wiring Diagram Schematic Standard S 4000 Series Parts Lookup With Diagrams Partstree

Generac 4w115d 9160 3 Generac 5 000 Watt Portable Generator Cradle Parts Lookup With Diagrams Partstree

Generac 4w115d 9160 3 Generac 5 000 Watt Portable Generator Cradle Parts Lookup With Diagrams Partstree

Generac Svp5000 9719 3 Generac 5 000 Watt Portable Generator Generator Parts Lookup With Diagrams Partstree

Generac Svp5000 9719 3 Generac 5 000 Watt Portable Generator Generator Parts Lookup With Diagrams Partstree

Generac Generator Activation Code In 2020 Generators For Sale Home Backup Generator Generator Price

Generac Generator Activation Code In 2020 Generators For Sale Home Backup Generator Generator Price

Generac Ep5000 9528 1 Generac 5 000 Watt Portable Generator Parts Lookup With Diagrams Partstree

Generac Ep5000 9528 1 Generac 5 000 Watt Portable Generator Parts Lookup With Diagrams Partstree

Home Depot Propane Generator Generac In 2020 Propane Generator Standby Generators Home Backup Generator

Home Depot Propane Generator Generac In 2020 Propane Generator Standby Generators Home Backup Generator

Generac 5000 Watt Generator Oil In 2020 Portable Generator Backup Generator Emergency Generator

Generac 5000 Watt Generator Oil In 2020 Portable Generator Backup Generator Emergency Generator

A Ipower 4000 Watt Gasoline Powered Manual Start Portable Generator Ap5000 The Home Depot Portable Generator Portable Power Generator Generators For Sale

A Ipower 4000 Watt Gasoline Powered Manual Start Portable Generator Ap5000 The Home Depot Portable Generator Portable Power Generator Generators For Sale

Generac 1669 0 Generac 5 000 Watt Portable Generator Wiring Diagram Parts Lookup With Diagrams Partstree

Generac 1669 0 Generac 5 000 Watt Portable Generator Wiring Diagram Parts Lookup With Diagrams Partstree

Https Encrypted Tbn0 Gstatic Com Images Q Tbn 3aand9gcqqquvuotoaewm2bw1qunah1nh8nyblv3drhuck7z2flfmhibgz Usqp Cau

Https Encrypted Tbn0 Gstatic Com Images Q Tbn 3aand9gcqqquvuotoaewm2bw1qunah1nh8nyblv3drhuck7z2flfmhibgz Usqp Cau

Oil Pressure Switch For Generac Generator In 2020 Backup Generator Emergency Generator Generator Installation

Oil Pressure Switch For Generac Generator In 2020 Backup Generator Emergency Generator Generator Installation

Generac Generator Discount Coupons In 2020 Propane Generator Military Discounts Generation

Generac Generator Discount Coupons In 2020 Propane Generator Military Discounts Generation

Generac 5735 Gp17500e 17 5000 Watt 992cc Ohvi Gas Powered Portable Generator With Electric Start Generac Http Www A Best Portable Generator Portable Generator

Generac 5735 Gp17500e 17 5000 Watt 992cc Ohvi Gas Powered Portable Generator With Electric Start Generac Http Www A Best Portable Generator Portable Generator

Generac Svp5000 0417 0 Generac 5 000 Watt Portable Generator Wheel Kit Parts Lookup With Diagrams Partstree

Generac Svp5000 0417 0 Generac 5 000 Watt Portable Generator Wheel Kit Parts Lookup With Diagrams Partstree

Carburetor Parts For Generac Generators In 2020 Home Backup Generator Generator Installation Generator Transfer Switch

Carburetor Parts For Generac Generators In 2020 Home Backup Generator Generator Installation Generator Transfer Switch

Source : pinterest.com